Правила безопасной эксплуатации
Учитывая взрыво- и пожароопасность кислорода, такие изделия согласно нормам ГОСТ 12.2.008-75 должны периодически подвергаться тщательному регламентному обслуживанию. Применительно к кислородным редукторам типа БКО 50-4 и БКО 50-5 правила обслуживания включают в себя:
- Проверку хода регулирующего винта/маховика от одного крайнего положения в другое: оно должно выполняться плавно, и без заеданий.
- Присоединительные элементы не должны иметь внешних механических повреждений – трещин, царапин, а также быть очищенными от масел, жиров и загрязнений.
- Переодическая проверка манометров не должна быть реже одного раза в год. Критерием необходимости в проверке считается повышенная инерционность стрелки прибора.
- В качестве уплотняющих элементов – прокладок, ниппелей и пр. – не могут использоваться детали, не соответствующие условиям эксплуатации кислородных редукторов.

- Перед каждым применением проверяется (по манометру) герметичность соединений, утечка кислорода из баллона недопустима.
- При присоединённом к редуктору баллоне с кислородом запрещается выполнять какую-либо регулировку.
- Согласно правилам охраны труда между редуктором для кислородного баллона и остальной газосварочной аппаратурой стоит предусматривать монтаж предохранительных устройств, в том числе и для гашения пламени. Это могут быть обратные клапаны, рассчитанные на давление в баллоне, а также предохранительные затворы.
Цена на кислородный редуктор определяется его конструкцией и эксплуатационными возможностями. Для одноступенчатых редукторов цена колеблется в пределах 1800…2000 руб. (БКО 50-4) и 1100…1200 руб. (БКО 50-5). Двухступенчатые устройства (например, БКД-25 или Multi-Stage RG S2 O2 чешского производства) стоят значительно дороже — 11000…12000 руб.
Эксплуатация редуктора.
До присоединения кислородного редуктора необходимо тщательно проверить, нет ли на штуцере и накидной гайке следов масла и т. п. При обнаружении следов жировых веществ редуктор надо промыть в каком- либо растворителе (например, в авиационном бензине).
Далее необходимо проверить исправность резьбы накидной гайки, очистить ее от грязи и пыли, а также проверить наличие и исправность фибровой (для кислородных редукторов) или кожаной (для ацетиленовых редукторов) прокладки, от которой зависит плотность соединения редуктора с вентилем.
После продувания кислородного вентиля баллона или магистрали для удаления из них грязи или стружки, которые могут попасть в редуктор и испортить его клапан, к штуцеру вентиля привертывается и закрепляется ключом накидная гайка кислородного редуктора.
Точно так же необходимо продуть вентиль ацетиленового баллона до присоединения к нему ацетиленового редуктора.
До пуска газа в редуктор его регулирующий винт должен быть вывернут до полного ослабления нажимной пружины, чтобы при открывании вентиля баллона редуктор не мог быть поврежден. Запорный вентиль на редукторе должен быть открыт. К шланговому ниппелю редуктора присоединяют шланг и укрепляют его прочно хомутиками или мягкой проволокой.
Для пуска газа в редуктор необходимо плавно открыть вентиль баллона на пол-оборота маховичка. Если при этом ненормальностей не наблюдается, то вентиль баллона следует открыть до отказа и вращением нажимного регулирующего винта редуктора по часовой стрелке установить по манометру необходимое рабочее давление. Величина рабочего давления кислорода устанавливается при открытом вентиле резака.
Когда же вследствие наличия масла или резкого пуска кислорода произойдет вспышка или сильное нагревание редуктора, необходимо быстро закрыть вентиль баллона, а редуктор снять и отправить в ремонт.
После установления рабочего давления надо проверить, нет ли утечки газа в местах соединений, по резьбе манометров и т. д. Пропуски газа опасны, так как ацетилен и другие горючие газы образуют с воздухом взрывчатые смеси.
После проверки резак зажигают и регулируют пламя.
В процессе работы необходимо следить, чтобы в редукторе не появлялось утечки, замерзания и т. д.
При прекращении работы на 2—3 мин. можно закрыть только вентили на резаке. Если же работа прекращается на 10—15 мин., то помимо вентилей резака закрывают и запорный вентиль редуктора, не изменяя положения регулирующего винта. При перерывах в работе более 10—15 мин. следует дополнительно вывертыванием регулирующего винта ослабить нажимную пружину.
При длительных перерывах и по окончании работы закрывается вентиль баллона или магистрали и полностью выпускается оставшийся в редукторе газ. Затем вращением регулирующего винта против часовой стрелки ослабляется нажимная пружина.
Редуктор углекислотный: назначение
Редуктор углекислотный предназначен для регулировки и снижения величины давления газа, который поступает из сети или баллона, а также для поддержания постоянного значения рабочего давления газа.
Согласно ГОСТ 6668-78 углекислотные редукторы классифицируются на следующие типы:
- центральные (Ц) – ЦКЗ;
- универсальные (У) – УВН, УКН;
- сетевые (С) – САО, СКО, СМО, СПО;
- баллонные (Б) – БКД, БКО, БПО;
- рамповые (Р) – РПД, РКЗ, РАД.
Согласно ГОСТ 13861-89 углекислотные редукторы для газопламенной обработки металлов, классифицируются:
- по принципу действия на: редукторы прямого действия;
- редукторы обратного действия;
по способу задания рабочего давления и числу ступеней редуцирования:
- одноступенчатые с пружинным заданием давления (О);
двухступенчатые с пружинным заданием давления (Д);
одноступенчатые с пневматическим задатчиком давления (З).
Углекислотные редукторы имеют черный цвет окраски и отличаются друг от друга способом присоединения к баллону или сети.
Редуктор углекислотный: принцип действия и устройство
Углекислотные редукторы, используемые в современной индустрии при ведении газосварочных работ и резке металлов, различаются по принципу действия.
У редукторов прямого действия — падающая характеристика (рабочее давление снижается по мере расхода газа), у редукторов обратного действия — возрастающая характеристика (рабочее давление повышается с уменьшением давления газа в баллоне).
Для осуществления работы, углекислотные редукторы, присоединяются к баллону с газом при помощи накидной гайки.
В процессе работы, газ, проходя входной фильтр, поступает в камеру высокого давления. Регулировка рабочего давления газа при сварке, осуществляется вращением регулировочного винта. При его повороте по часовой стрелке, усилие, посредством нажимной пружины последовательно воздействует на нажимной диск, мембрану, толкатель и редуцирующий клапан. Редуцирующий клапан, в результате этого усилия, приходит в движение и открывает доступ кислорода в рабочую камеру через образовавшийся зазор между клапаном и седлом.
Таким образом, происходит автоматическое поддержание величины рабочего давления в требуемом интервале.
Современные баллонные углекислотные редукторы выпускаются различных моделей и комплектаций. В зависимости от модели, некоторые из них могут оснащаться специальными приборами – манометрами (низкого выходного и высокого входного) давления, которые определяют давление газа, соответственно выходящего и входящего из редуктора и в редуктор.
Выпускаются углекислотные редукторы и не имеющие указанных измерительных приборов.
Отбор газа в углекислотный редуктор, происходит при помощи ниппеля, присоединенного к редуктору гайкой. К самому ниппелю присоединяется специальный рукав, который идет непосредственно к газовому резаку или к газовой горелке.
Эксплуатация и проверка исправности углекислотного редуктора
Перед работой углекислотный редуктор необходимо проверить на предмет работоспособности. Проверка предусматривает:
- проверку исправности манометров, стрелки которых должны находиться на нуле; проверку регулировочного винта, который должен быть вывернут (клапан закрыт);
- проверку давления в рабочей камере (проверяется после подсоединения шланга к редуктору);
- проверку плотности закрытия клапана редуктора и герметичности всех соединений (проверяется закрытием вентиля горелки и выкручиванием регулировочного винта);
- проверку возможной утечки в редукторе (проверяется при помощи мыльной пены, нанесенной на отверстие отводного штуцера при полностью вывернутом положении регулировочного винта).
Правильная эксплуатация углекислотного редуктора предусматривает исключение возможности попадания на редуктор масел, жиров и прочих загрязнений.
Поставляемые промышленностью газовые углекислотные редукторы должны иметь следующие маркировки:
- товарный знак предприятия изготовителя;
- марка редуктора;
- год выпуска.
Возможна ли взаимозаменяемость
Некоторые виды сварочных редукторов взаимозаменяемы, но далеко не все. Так, вместо специализированного редуктора СО2 для сварки допустимо использовать кислородный, но обратную замену производить категорически нельзя.
Кислород — химически активное вещество, сильнейший окислитель, поэтому для работы с ними используются специальные металлы и сплавы. К тому же кислород закачивается в газовые баллоны под давлением, превышающим этот же параметр для углекислоты более чем в 2 раза.
Сварочный редуктор для углекислого газа, накрученный на кислородный баллон, может продержаться, в зависимости от его качества, от нескольких часов до пары недель. Но в нем неминуемо произойдет полное разрушение уплотняющих мембран — основного элемента конструкции, вследствие чего прибор начнет травить.
Аналогичная резьба и в баллонах ля резки и сварки. При этом кислородный редуктор имеет правую резьбу. Кислород не горит сам по себе, но поддерживает горение. В некоторых условиях он взрывоопасен.
Кислородный редуктор, используемый во время сварки с углекислотным баллоном, ждет другая угроза. Углекислота вызывает промерзание контактирующих с ней деталей до -60 °C. Поскольку регулятор давления, предназначенный для кислорода, и не должен выдерживать такого режима работы, он также начнет разрушаться.
Основные причины неисправностей кислородного редуктора
При активном использовании редуктор, как и любое другое оборудование, может периодически выходить из строя. Наиболее часто встречающейся на практике неисправностью является нарушение герметичности узлов соединения камер и клапана. В результате происходит утечка кислорода.
Причиной подобной поломки обычно является износ уплотнителей седла, изготовленных из эбонита. Для устранения проблем требуется их заменить. Другой причиной утечки кислорода может стать попадание в клапан посторонних частиц. В этом случае необходимо произвести чистку механизма.
При использовании редуктора при отрицательных температурах устройство нередко замерзает. Чтобы избежать этого вентиль кислородного баллона оборачивается каким-либо материалом или обдувается теплым воздухом. Применять в подобных целях огонь категорически запрещается.
При длительной эксплуатации редуктора могут выходить из строя отдельные детали или части устройства. К ним относятся нажимная пружина, шпилька или манометры. Для ремонта требуется замена пришедшей в негодность детали.
Принцип работы газовых редукторов
Принцип действия редуктора определяется его характеристикой. У редукторов прямого действия — падающая характеристика, то есть рабочее давление по мере расхода газа из баллона несколько снижается, у редукторов обратного действия — возрастающая характеристика, то есть с уменьшением давления газа в баллоне рабочее давление повышается.
Редукторы различаются по конструкции, принцип действия и основные детали одинаковы для каждого редуктора.

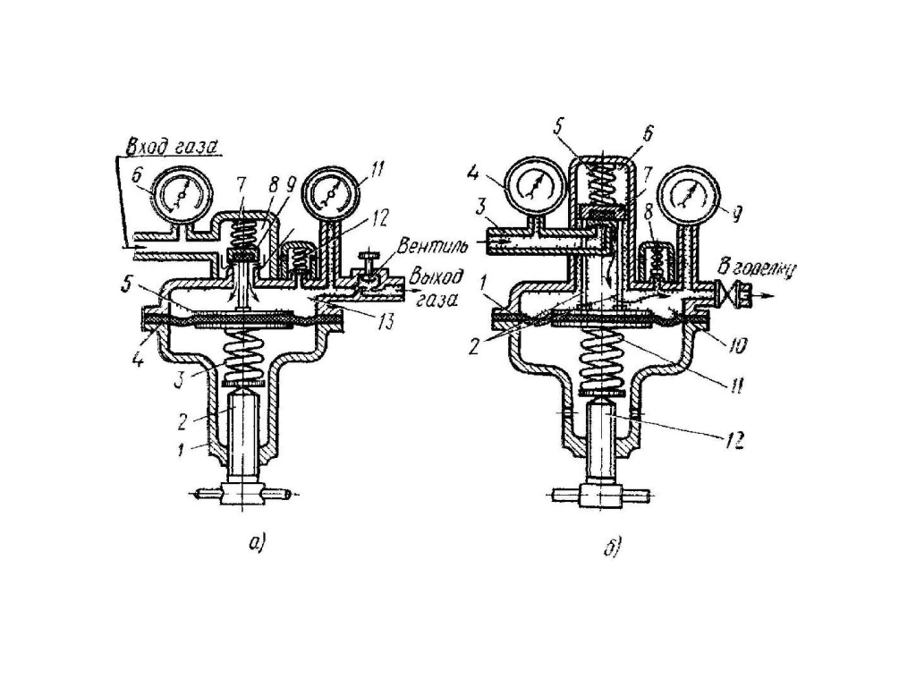
Редуктор обратного действия (рис. 1 а) работает следующим образом. Сжатый газ из баллона поступает в камеру высокого давления 8 и препятствует открыванию клапана 9. Для подачи газа в горелку или резак необходимо вращать по часовой стрелке регулирующий винт 2, который ввертывается в крышку 1. Винт сжимает нажимную пружину 3, которая в свою очередь выгибает гибкую резиновую мембрану 4 вверх. При этом передаточный диск со штоком сжимает обратную пружину 7, поднимая клапан 9, который открывает отверстие для прохода газа в камеру низкого давления 13. Открыванию клапана препятствует не только давление газа в камере высокого давления, но и пружина 7, имеющая меньшую силу, чем пружина 3. Автоматическое поддержание рабочего давления на заданном уровне происходит следующим образом. Если отбор газа в горелку или резак уменьшится, то давление в камере низкого давления повысится, нажимная пружина З сожмётся и мембрана 4 выправится, а передаточный диск со штоком 5 опустится и редуцирующий клапан 9 под действием пружины 7 прикроет седло клапана 10, уменьшив подачу газа в камеру низкого давления. При увеличении отбора газа процесс будет автоматически повторяться. Давление в камере высокого давления 8 измеряется манометром 6, а в камере низкого давления 13 — манометром 11. Если давление в рабочей камере повысится сверх нормы, то при помощи предохранительного клапана 12 произойдет сброс газа в атмосферу.
Помимо однокамерных редукторов применяют двухкамерные, в которых давление газа понижается постепенно в двух камерах редуцирования, расположенных последовательно одна за другой. Двухкамерные (двухступенчатые) редукторы обеспечивают более постоянное рабочее давление и менее склонны к замерзанию, однако они сложнее по конструкции, поэтому двухкамерные (двухступенчатые) редукторы используют тогда, когда необходимо поддерживать рабочее давление с повышенной точностью.
Редукторы прямого действия. В редукторах прямого действия (рис. 1, б) газ через штуцер 3, попадая в камеру высокого давления 6 и действуя на клапан 7, стремится открыть его (а в редукторах обратного действия — закрыть его). Редуцирующий клапан 7 прижимается к седлу запорной пружиной 5 и преграждает доступ газа высокого давления. Мембрана 1 стремится отвести редуцирующий клапан 7 от седла и открыть доступ газа высокого давления в камеру низкого (рабочего) давления 10. В свою очередь мембрана 1 находится под действием двух взаимно противоположных сил. С наружной стороны на мембрану 1 через нажимной винт 12 действует нажимная пружина 11, которая стремится открыть редуцирующий клапан 7, а с внутренней стороны камеры редуктора на мембрану давит редуцированный газ низкого давления, противодействующий нажимной пружине 11. При уменьшении давления в рабочей камере нажимная пружина 11 распрямляется, и клапан уходит от седла, при этом происходит увеличение притока газа в редуктор. При возрастании давления в рабочей камере 10 нажимная пружина 11 сжимается, клапан подходит ближе к седлу и поступление газа в редуктор уменьшается. Рабочее давление определяется натяжением нажимной пружины 11, которое изменяется регулировочным винтом 12. При вывертывании регулировочного винта 12 и ослаблении нажимной пружины 11 снижается рабочее давление и, наоборот, при ввертывании регулировочного винта сжимается нажимная пружина 11 и происходит повышение рабочего давления газа. Для контроля за давлением на камере высокого давления установлен манометр 4, а на рабочей камере — манометр 9 и предохранительный клапан 8.
В практике наибольшее распространение получили редукторы обратного действия как более удобные и безопасные в эксплуатации.
Устройство и принцип работы кислородного редуктора
Прямое назначение редуктора – обеспечивать постоянное соотношение между входным давлением газа из баллона и выходным, рабочим, которое поступает на сварочную горелку.
Простейший кислородный редуктор состоит из следующих элементов:
- Запорной пружины.
- Впускного клапана.
- Толкателя.
- Мембраны.
- Нажимного диска.
- Нажимной пружины.
Впускной клапан является наиболее ответственным узлом кислородного редуктора. Он постоянно находится под влиянием двух усилий, действующих в противоположных направлениях. Одно из них создаётся исходным давлением кислорода, который находится в баллоне. Это давление стремится отжать запорную пружину вверх, и пропустить газовый поток к толкателю. Вместе с тем второе давление, от мембраны препятствует этому. В результате камера пониженного давления всегда поддерживается равновесие усилий, которые создаются запорной пружиной и мембраной, что обеспечивается настройкой редуктора. В принципе, устройство схоже с ацетиленовым редуктором.
Кислородный редуктор работает в следующей последовательности. При попытке поднять тарелку запорного клапана вверх сила, передаваемая на мембрану от нажимной пружины, стремится воспрепятствовать этому. Если рабочее давление кислорода уменьшить, то нажимная пружина начинает перемещаться вверх и перемещать в том же направлении мембрану. Толкатель преодолевает сопротивление запорной пружины и открывает входное отверстие для прохода газа, находящегося в кислородном баллоне. Расход кислорода соответственно увеличивается. И наоборот, при возрастании рабочего давления оно воздействует на толкатель, тот движется вниз, и производит перекрытие части входного отверстия. При правильно отрегулированном кислородном редукторе между этими двумя процессам постоянно поддерживается динамическое равенство.
Читать также: Код краски мазда сх 7
Регулировка кислородного редуктора заключается в том, что силу натяжения нижней, нажимной пружины можно изменять. В большинстве случаев для этого используется винт с мелким шагом резьбы. Если этот винт вывёртывается, то натяжение пружины ослабевает, а рабочее давление кислорода снижается. При вворачивании винта давление увеличивается.
В комплект обычных редукторов, которые требуются для выполнения газосварочных работ входят два манометра. Один из них контролирует давление на входе в редуктор, а второй – давление после редуцирования.
Конструктивно кислородные редукторы производятся двух исполнений – прямого и обратного. В редукторах прямого давления исходный кислород, который поступает из баллона, стремится открыть клапан, а в редукторах обратного действия – закрыть его, прижав толкатель к седлу.
Зависимость давления кислорода в баллоне, который снабжён редуктором, изменяется по параболической зависимости: оно максимально в начальный период, а со временем понижается до уровня рабочего давления сварочного процесса (в таком случае редуктор фактически уже и не требуется). На практике редуктор обратного действия оказывается более работоспособным, поскольку может обеспечивать постоянство значений рабочего давления (независимо от исходного давления кислорода в баллоне) до полного опоражнивания баллона. В то же время кислородный редуктор прямого действия при полупустом баллоне рабочее давление понижает, поскольку нарушается соотношение сил, действующих на толкатель. Поэтому такие устройства нуждаются в постоянной регулировке сварщиком.
Кислородный редуктор и его особенности
Вспомним, что такое кислород. Это элемент, являющийся химически активным неметаллом, не имеющий вкуса, запаха и цвета, может находиться как в газообразном состоянии, в жидком и твердом состоянии. Причем в жидкое состояние кислород переходит при температуре -183 градуса по Цельсию, в твердое состояние, кристаллы тёмно-синего цвета, переходит при температуре -218 градусов по Цельсию. В газовом состоянии в воде растворяется очень слабо, тяжелее воздуха.

Вид жидкого кислорода
Обозначается кислород О₂, что означает, что он состоит из двух атомов кислорода. Он взаимодействует практически со всеми простыми элементами, кроме золота и инертных газов. С платиной реагирует только при нагревании до красного каления.
Применяют кислород в промышленности в таких отраслях, как металлургия, космическая отрасль, а также для обработки материалов, то есть для газопламенной сварки и резки. Также используют кислород и в медицине. Для двух последних целей кислород используется в баллонах, реже используют специальную сеть или рампу. И в кислородном баллоне, который должен быть окрашен в голубой цвет, и в рампе, кислород находится под давлением. Для его использования нужно понизить это давление до рабочего или иметь возможность его регулировать необходимо применять кислородный редуктор.

Кислородный редуктор с двумя манометрами
Для того, что бы не было разночтений, ГОСТ 13861-89 предусматривает специальную маркировку редукторов для кислородной резки и сварки. Это такие типы маркировки: БКО, СКО, РКЗ, ЦКЗ, УКН, УВН
В первом обозначении буква Б означает баллон:
- К- кислородный,
- О – одноступенчатый.
Если последняя буква не О, а Д, значит редуктор двух ступенчатый.
Во втором обозначении, соответственно:
- буква С – сетевая конструкция,
- К – кислород,
- О (Д) одно (двух) ступенчатая.
В третьем обозначении, то же самое:
- буква Р – рамповый редуктор,
- З – одноступенчатый с пневматическим датчиком.
Если после обозначения стоят цифры, например, БКО 25 или БКО 50, которые означают, сколько кубометров кислорода подается через данный манометр в час.
Они также различаются по способу действия, могут быть прямого и обратного действия, по количеству пропускаемых кубов кислорода и по давлению газа, который может быть обеспечен на выходе.
Предназначение кислородного редуктора
Редуктор кислородный, фото которого вы можете видеть в нашей статье, предназначен для обеспечения равномерного потока газа независимо от перепада давления в газопроводе или баллоне. Это очень важный элемент для газобаллонного оборудования. По его устройству судить можно о работоспособности всей системы. Если его не установить, то возможно возникновение так называемого эффекта запирания. Это означает, что расход газа достигнет критических показателей, и его скорость истечения будет равна скорости звука. Сила достигнет такого значения, что баллон станет прыгать в разные стороны.
Редуктор углекислотный: назначение
Редуктор углекислотный предназначен для регулировки и снижения величины давления газа, который поступает из сети или баллона, а также для поддержания постоянного значения рабочего давления газа.
Согласно ГОСТ 6668-78 углекислотные редукторы классифицируются на следующие типы:
- центральные (Ц) – ЦКЗ;
- универсальные (У) – УВН, УКН;
- сетевые (С) – САО, СКО, СМО, СПО;
- баллонные (Б) – БКД, БКО, БПО;
- рамповые (Р) – РПД, РКЗ, РАД.
Согласно ГОСТ 13861-89 углекислотные редукторы для газопламенной обработки металлов, классифицируются:
- по принципу действия на: редукторы прямого действия;
- редукторы обратного действия;
по способу задания рабочего давления и числу ступеней редуцирования:
- одноступенчатые с пружинным заданием давления (О);
двухступенчатые с пружинным заданием давления (Д);
одноступенчатые с пневматическим задатчиком давления (З).
Углекислотные редукторы имеют черный цвет окраски и отличаются друг от друга способом присоединения к баллону или сети.
Редуктор углекислотный: принцип действия и устройство
Углекислотные редукторы, используемые в современной индустрии при ведении газосварочных работ и резке металлов, различаются по принципу действия.
У редукторов прямого действия — падающая характеристика (рабочее давление снижается по мере расхода газа), у редукторов обратного действия — возрастающая характеристика (рабочее давление повышается с уменьшением давления газа в баллоне).
Для осуществления работы, углекислотные редукторы, присоединяются к баллону с газом при помощи накидной гайки.
В процессе работы, газ, проходя входной фильтр, поступает в камеру высокого давления. Регулировка рабочего давления газа при сварке, осуществляется вращением регулировочного винта. При его повороте по часовой стрелке, усилие, посредством нажимной пружины последовательно воздействует на нажимной диск, мембрану, толкатель и редуцирующий клапан. Редуцирующий клапан, в результате этого усилия, приходит в движение и открывает доступ кислорода в рабочую камеру через образовавшийся зазор между клапаном и седлом.
Таким образом, происходит автоматическое поддержание величины рабочего давления в требуемом интервале.
Современные баллонные углекислотные редукторы выпускаются различных моделей и комплектаций. В зависимости от модели, некоторые из них могут оснащаться специальными приборами – манометрами (низкого выходного и высокого входного) давления, которые определяют давление газа, соответственно выходящего и входящего из редуктора и в редуктор.
Выпускаются углекислотные редукторы и не имеющие указанных измерительных приборов.
Отбор газа в углекислотный редуктор, происходит при помощи ниппеля, присоединенного к редуктору гайкой. К самому ниппелю присоединяется специальный рукав, который идет непосредственно к газовому резаку или к газовой горелке.
Эксплуатация и проверка исправности углекислотного редуктора
Перед работой углекислотный редуктор необходимо проверить на предмет работоспособности. Проверка предусматривает:
- проверку исправности манометров, стрелки которых должны находиться на нуле; проверку регулировочного винта, который должен быть вывернут (клапан закрыт);
- проверку давления в рабочей камере (проверяется после подсоединения шланга к редуктору);
- проверку плотности закрытия клапана редуктора и герметичности всех соединений (проверяется закрытием вентиля горелки и выкручиванием регулировочного винта);
- проверку возможной утечки в редукторе (проверяется при помощи мыльной пены, нанесенной на отверстие отводного штуцера при полностью вывернутом положении регулировочного винта).
Правильная эксплуатация углекислотного редуктора предусматривает исключение возможности попадания на редуктор масел, жиров и прочих загрязнений.
Поставляемые промышленностью газовые углекислотные редукторы должны иметь следующие маркировки:
- товарный знак предприятия изготовителя;
- марка редуктора;
- год выпуска.




































